- 加拿大28
- 电话:021-51875578
- 传真:021-57443237
- 手机:13916747333
- 邮箱:a15566@126.com
- 地址:奉贤区工业综合开发区942号
当前位置:首页 >> 放料阀
>> Y型料浆阀 >> Y型料浆阀 更新时间 2025-12-4 21:12:56
Y型料浆阀
| Y型料浆阀 |
![]() |
产品名称: | Y型料浆阀 | |||||
| 型号: | SJS45Y | ||||||
| 口径: | DN50-300 | ||||||
| 压力: | 1.6-2.5MPa | ||||||
| 材质: | 铸钢、不锈钢304/316/316L | ||||||
|
|||||||
| 您正在浏览:【Y型料浆阀】 | |||||||
Y型料浆阀详细介绍
Y型料浆阀用途范围:
料浆阀主要用于铝厂,料浆阀根据实际情况的需要,放底结构设计为凸型,阀体为V型,并提供提升和下降两种工作方式阀瓣。阀体内腔装有耐冲刷、耐腐蚀的密封圈,在开启阀门瞬间,可以保护阀体不被介质冲刷、腐蚀,并对密封圈进行特种处理,使表面硬度达到HRC56~62,具有高耐磨、耐腐蚀的功能。阀瓣密封根据需要是封面均堆焊有硬质合金,密封副采用线密封,保证密封的可靠性,并可防止结疤。同时,采取短行程阀瓣的设计。在化工、石油、冶金、制药、农药、染料、食品加工等行业广泛使用。各种操作方式,例如手动,气动(弹簧复位式,双作用式、带手轮和不带手轮),电动,液动,齿轮等。Y型料浆阀产品特点:
料浆阀采用Y型直通式结构,流阻小、不容易结疤,左右阀体分开式,两阀体之间夹有阀座,维修时只需拆开两阀体的螺栓就可清洗或修理,若有损坏的零件也可以及时更换,阀体内腔受冲刷较严重的部位装有硬质合金的保护衬板,在开启阀门时,可以保护阀体不被介质冲刷、腐蚀,从而大大地提高了阀门的使用寿命,密封面之间堆焊硬质合金,硬度高。阀瓣采用锥形密封面,阀座选用一个极小的圆弧形密封面。这样,在阀瓣与阀座密合时形成一种类似线密封的密封形式,密封效果极佳。此外还可有较强的防止了结疤的现象,阀门带有上密封结构,全开时可以保护填料,阀门导向装置设置在体腔外部,不与介质接触,防止了类似闸阀的导向部位卡死现象。
Y型料浆阀产品执行标准:
设计制造按:ASMEB16.34(Class150为缩径设计)、BS1873
法兰端尺寸按:ASMEB16.5\GB/T9II3.6
检验标准:API598
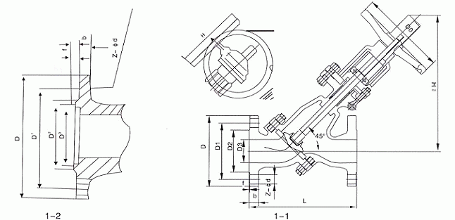
Y型料浆阀外形结构图:

Y型料浆阀外形连接尺寸:
Y型料浆阀外形结构图:

Y型料浆阀外形连接尺寸:
型号 |
公称压力PN | 尺寸(mm) | ||||||||
|---|---|---|---|---|---|---|---|---|---|---|
| DN | 50 | 100 | 125 | 150 | 150 | 200 | 250 | 300 | ||
| SJS45Y-16C SJS545Y-16C |
1.6 | L | 230 | 350 | 400 | 480 | 480 | 600 | 730 | 850 |
| H | 320 | 464 | 510 | 710 | 595 | 810 | 920 | 1120 | ||
| DO | 240 | 280 | 320 | 360 | 360 | 500 | 500 | 600 | ||
| 重量WT(kg) | 36 | 66 | 90 | 105 | 105 | 185 | 305 | 420 | ||
| SJS45Y-25C SJS545Y-25C |
2.5 | L | 230 | 350 | 400 | 480 | 480 | 600 | 730 | 850 |
| H | 320 | 464 | 510 | 710 | 595 | 810 | 920 | 1120 | ||
| DO | 240 | 280 | 320 | 360 | 360 | 500 | 500 | 600 | ||
| 重量WT(kg) | 38 | 69 | 95 | 114 | 114 | 195 | 315 | 435 | ||
| SJS45Y-40C SJS545Y-40C |
4.0 | L | 230 | 350 | 400 | 480 | 480 | 600 | 730 | 850 |
| H | 320 | 464 | 510 | 710 | 595 | 810 | 920 | 1120 | ||
| DO | 240 | 280 | 320 | 360 | 360 | 500 | 500 | 600 | ||
| 重量WT(kg) | 42 | 70 | 95 | 114 | 114 | 195 | 315 | 435 | ||
| SJS45Y-64C SJS545Y-64C |
6.4 | L | 380 | 430 | 500 | 550 | 550 | 650 | 775 | 900 |
| H | 350 | 490 | 550 | 750 | 635 | 860 | 980 | 1120 | ||
| DO | 360 | 400 | 400 | 500 | 500 | 600 | 680 | 800 | ||
| 重量WT(kg) | 47 | 75 | 105 | 124 | 124 | 210 | 335 | 460 | ||
提示:本文中所有文字、数据、图片均只适用于参考,需要了解更详细的【Y型料浆阀】参数、选型、价格等请联系我们,我们将竭诚为您服务!



















