- 加拿大28
- 电话:021-51875578
- 传真:021-57443237
- 手机:13916747333
- 邮箱:a15566@126.com
- 地址:奉贤区工业综合开发区942号
当前位置:首页 >> 衬胶阀门
>> 衬胶管夹阀 >> 衬胶管夹阀 更新时间 2025-12-4 21:16:29
衬胶管夹阀
| 衬胶管夹阀 |
![]() |
产品名称: | 衬胶管夹阀 | |||||
| 型号: | GJ41X | ||||||
| 口径: | DN15-300 | ||||||
| 压力: | 0.6-2.5MPa | ||||||
| 材质: | 铸铁、铸钢、不锈钢等 | ||||||
|
|||||||
| 您正在浏览:【衬胶管夹阀】 | |||||||
衬胶管夹阀详细介绍
衬胶管夹阀产品概述:
衬胶管夹阀由左右阀体、橡胶管套、大小阀杆、闸板、上下导柱等零件组成。顺转手轮时,使管夹阀大小阀杆同时带动上下闸板,压缩管套,进行关闭,反转即行开启,这样,闸板在导柱之间上下往复完成阀门开闭工作。另外,因橡胶管套承力,因此在开关时,操作人员旋转手轮时只要感到适量抵触,均己达到开闭极点,切勿尽力或多人辅助,禁用其他工具开闭。 管夹阀主要分为:铝合金管夹阀、铸铁管夹阀等。衬胶管夹阀产品用途:
衬胶管夹阀是一种具有防腐蚀性能,适用于化工,冶炼等具有腐蚀性流体的阀门,它广泛应用于化工工业、石油工业、电力部门、冶金工业、污水处理等方面。
衬胶管夹阀零件材料:
名称 |
材料 |
阀体 |
铸铁、铝合金 |
套管 |
橡胶 |
阀杆 |
铸铜、碳钢 |
压杆 |
球墨铸铁 |
电动头 |
组合件 |
托架 |
球墨铸铁 |
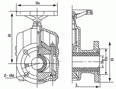
衬胶管夹阀外形结构图:

衬胶管夹阀连接尺寸:
公称通径 |
主要连接尺寸及外型尺寸 |
重量(KG) |
|||||
L |
D |
D1 |
D2 |
b |
Z-¢ |
||
20 |
135 |
105 |
75 |
55 |
16 |
4-14 |
2.5 |
25 |
145 |
115 |
85 |
65 |
16 |
4-14 |
3 |
32 |
160 |
135 |
100 |
78 |
18 |
4-18 |
4 |
40 |
180 |
145 |
110 |
85 |
18 |
4-18 |
6 |
50 |
210 |
165 |
125 |
100 |
20 |
4-18 |
7.5 |
65 |
250 |
185 |
145 |
120 |
20 |
4-18 |
9.5 |
80 |
300 |
190 |
160 |
135 |
22 |
4-18 |
16 |
100 |
350 |
215 |
180 |
155 |
22 |
8-18 |
20 |
125 |
430 |
245 |
210 |
185 |
25 |
8-18 |
28 |
150 |
500 |
280 |
240 |
210 |
25 |
8-23 |
43 |
200 |
650 |
335 |
295 |
265 |
32 |
8-23 |
80 |
提示:本文中所有文字、数据、图片均只适用于参考,需要了解更详细的【衬胶管夹阀】参数、选型、价格等请联系我们,我们将竭诚为您服务!



















