- 加拿大28
- 电话:021-51875578
- 传真:021-57443237
- 手机:13916747333
- 邮箱:a15566@126.com
- 地址:奉贤区工业综合开发区942号
当前位置:首页 >> 排泥阀
>> 隔膜式排泥阀 >> 隔膜式快开排泥阀 更新时间 2025-12-4 21:13:55
隔膜式排泥阀
| 隔膜式快开排泥阀 |
![]() |
产品名称: | 隔膜式快开排泥阀 | |||||
| 型号: | JM744X | ||||||
| 口径: | DN50-400 | ||||||
| 压力: | 0.6-1.6MPa | ||||||
| 材质: | 铸铁,铸钢,不锈钢等 | ||||||
|
|||||||
| 您正在浏览:【隔膜式快开排泥阀】 | |||||||
隔膜式快开排泥阀详细介绍
隔膜式快开排泥阀产品概述:
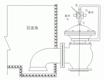
隔膜式快开排泥阀又称膜片式快开排泥阀,是一种由液压源或气动源作执行机构的角型截断类阀门通常成排安装在沉淀池底部外侧壁,用以排除池底沉淀的泥砂和污物。膜片式快开排泥阀由尼龙强化橡胶隔膜将阀门分为两个腔室,接通液压或气动源,采用电动或手动二位四通换向阀控制,实现快速排泥。该阀将隔膜代替活塞无运动摩擦,更适用于泥浆等颗粒介质,大大提高了阀门的使用寿命。隔膜式快开排泥阀安装示意图:

隔膜式快开排泥阀产品性能:
1、采用全衬胶阀板,密封效果好,无泄漏。经久耐用,使用寿命长。
2、在双室隔膜的膜片压板装1个节流装置,承启关闭、打开的作用。
3、采用双室隔膜传动机构,阀门开启平稳快捷,比活塞式阀门具有以下优点:
a. 无运动磨损,不会因杂质而产生漏水;
b.对泥沙淤积不敏感;
c.不需要润滑,无机械磨损,无定期更换的橡胶制品,使用寿命长;
4、驱动介质压力水可直接采用自来水或本水池上部清水,(压力≥0.05MPa)操作方便。
5、自动化程度高,可实现远距离自动控制和集中控制。
隔膜式快开排泥阀产品实物图:

隔膜式快开排泥阀技术参数:
公称压力:0.6MPa-1.6MPa
公称通径:50~400mm
适用介质:水、污水
驱动介质:清水、气
适用温度:0~80℃
法兰标准:GB/T l 7241 6 GB/T 911 3
试验标准:GB/T l 3927 APl 598
注:(如有特殊要求,订货时说明)隔膜式快开排泥阀零件材料:
零件名称 |
阀体、阀盖 |
膜片压板、阀盘 |
阀杆 |
膜片 |
材 料 |
铸铁、球铁、碳钢 |
球铁、青铜 |
不锈钢 |
尼龙强化橡胶 |
隔膜式快开排泥阀外形结构图:

隔膜式快开排泥阀连接尺寸:
DN |
100 |
150 |
200 |
250 |
300 |
350 |
400 |
L |
160 |
190 |
225 |
260 |
280 |
315 |
340 |
L1 |
120 |
150 |
190 |
220 |
260 |
300 |
340 |
H |
370 |
440 |
53 |
0615 |
785 |
880 |
970 |
隔膜式快开排泥阀安装效果图:

隔膜式快开排泥阀使用现场图:

提示:本文中所有文字、数据、图片均只适用于参考,需要了解更详细的【隔膜式快开排泥阀】参数、选型、价格等请联系我们,我们将竭诚为您服务!



















