• 加拿大28
  • 电话:021-51875578
  • 传真:021-57443237
  • 手机:13916747333
  • 邮箱:a15566@126.com
  • 地址:奉贤区工业综合开发区942号
当前位置:首页 >> 放料阀 >> 搪玻璃放料阀 >> 搪玻璃放料阀
更新时间 2025-12-4 21:12:55


搪玻璃放料阀
    搪玻璃放料阀
    搪玻璃放料阀   产品名称: 搪玻璃放料阀
    型号:HG5-16-79
    口径:DN25-200
    压力:1.6-2.5MPa
    材质:铸钢、不锈钢304/316/316L

    良大优势:

    1、质量稳定:实行全过程质量监控
    细心把关,全方位检测!
    2、价格合理:高效率的成本控制
    减少开支,让利于客户!
    3、交货快捷:充足的库存,便捷的物流
    严格按照合同期交货!

    订货须知:

    请您尽量提供详细参数
    ①名称 ②型号 ③口径 ④压力 ⑤材质
    ⑥连接 ⑦传动 ⑧温度 ⑨介质 ⑩附件

    良大服务:

    提供全套流体控制解决方案,良大阀门
    售前、售中、售后专业服务。
    您正在浏览:【搪玻璃放料阀

       搪玻璃放料阀详细介绍


    搪玻璃放料阀工作原理:

    搪玻璃放料阀可分上展或下展式放料,上展式的手轮往右边转为关,往左边转为开,下展式的手轮往右边转为开,往左边转为关闭,阀体为V型,并提供提升和下降两种工作方式的阀瓣。

    搪玻璃放料阀用途介绍:
    搪玻璃设备是喊高硅量的玻璃质釉。通过900℃左右高温涂于金属胎而成。它具有良好的机械性能和耐腐蚀性能,能防止介质与金属离子取代作用而影响污染制品,并且表面光洁、耐磨、有一定的热稳定性。在化工、石油、冶金、制药、农药、染料、食品加工等行业广泛使用。


    搪玻璃放料阀性能优点:
    1、耐腐蚀性强、能耐一般无机酸、有机酸弱碱液(P≤60℃ PH≤12)以及有机剂介质。
    在盐酸、硝酸、水等强腐蚀性介质中优于不锈钢。
    严禁使用含氟离子液体(如HF等)也不能用强碱及磷酸(温度>150℃浓度>30%)
    2、耐热性,允许在-30℃至+240℃间使用(耐温急变小于120℃)。
    3、HG5-16-79搪玻璃放料阀具有光滑的表面。不易粘结物料、易清洗。
    4、绝缘性:玻璃料有良好的绝缘性,厚1mm的玻璃在2000伏的高压下不会被击穿而导电。
    5、耐冲击性:耐冲击性能较小为2500克/厘米,因而使用时应避免硬物冲击。

    搪玻璃放料阀适用范围:
    产品名称
    规格
    使用范围
    50~100L反锅
    搪玻璃放料阀
    DN70/32
    50~100L反锅
    200L
    DN80/40
    200~500L反锅
    300~500L
    DN100/50
    1000~2000L反锅
    1000~2000L
    DN125/80
    3000L反锅
    3000L
    DN150/100
    5000L以上的反锅
    500-300L贮罐

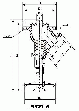
    上展式搪玻璃放料阀尺寸表:

    配反应罐
    规格
    D
    D1
    D2
    D3
    z-φ
    d
    d1
    n-φ
    L
    L1
    50-100L
    70/32
    160
    130
    32
    160
    4-14
    120
    90
    4-14
    350
    325
    200-500L
    80/40
    185
    150
    42
    160
    4-18
    130
    100
    4-14
    360
    330
    1000-2000L
    100/50
    205
    170
    50
    180
    4-18
    140
    110
    4-16
    395
    360
    1000-2000L
    100/50
    210
    185
    50
    180
    6-14
    140
    110
    4-16
    395
    360
    1000-2000L
    100/50
    210
    190
    50
    180
    8-14
    140
    110
    4-16
    395
    360
    3000L
    125/80
    235
    200
    65
    200
    8-18
    185
    150
    4-18
    450
    400
    3000L
    125/80
    235
    210
    65
    200
    10-14
    185
    150
    4-18
    450
    400
    5000L
    150/100
    260
    225
    85
    200
    8-18
    205
    170
    4-18
    485
    420

    下展式搪玻璃放料阀尺寸表:


    配反应罐
    规格
    D
    D1
    D2
    D3
    z-φ
    d
    d1
    n-φ
    L
    50-100L
    70/32
    160
    130
    32
    160
    4-14
    120
    90
    4-14
    268
    200-500L
    80/50
    185
    150
    42
    100
    4-18
    130
    100
    4-14
    275
    1000-2000L
    100/50
    205
    170
    50
    180
    4-18
    140
    110
    4-16
    315
    1000-2000L
    100/50
    210
    185
    50
    180
    6-14
    140
    110
    4-16
    315
    1000-2000L
    100/50
    210
    190
    50
    180
    8-14
    140
    110
    4-16
    315
    3000L
    125/80
    235
    200
    65
    200
    8-18
    185
    150
    4-18
    365
    3000L
    125/80
    235
    210
    65
    200
    10-14
    185
    150
    4-18
    365
    5000L
    150/100
    260
    225
    85
    200
    8-18
    205
    170
    4-18
    505

    搪玻璃放料阀维护保养和安装使用注意事项:
    1、在装修时凡与瓷面接触的地方必须用石棉或四氟片等软垫。使用工具不能与瓷面冲击或摩擦,更不能用金属工具铲打。
    2、在紧固螺丝时四周以等力上紧,防止瓷面受力不匀而裂瓷。放料阀丝杆要经常保持润滑、防止生锈。
    3、流经介质只能是液态,不得有硬颗粒混入液体内,防止瓷面起毛或堵塞,以及开启失灵等等。
    4、在安装时应注意各部的螺丝受力是否平衡、升降(活动)是否灵活。
    5、在搪瓷面的各部密封件应保持中心位置。压力均匀,以防泄漏。
    6、使用时如发现有漏,应立即检查密封装置是否确当、不能用铁棍、杆把手轮硬扳紧,以免损坏零件。
    7、出料当受阻塞时,可以使用金属杆或硬性工具疏通,不得使用金属杆或硬性工具。
    8、应尽量避免酸碱介质交替使用(除中和反应介质),以免缩短寿命。
    9、根据介质性能及使用期,应经常检查阀体颈部四氟密封圈和孔板部的四氟薄片。如发现有损坏应及时更换再使用。
    10、若发现瓷面有损坏时应立即停用。可用专门涂料修补患处,或委托有关生产单位重新现做搪瓷。

    提示:本文中所有文字、数据、图片均只适用于参考,需要了解更详细的【搪玻璃放料阀】参数、选型、价格等请联系我们,我们将竭诚为您服务!