• 加拿大28
  • 电话:021-51875578
  • 传真:021-57443237
  • 手机:13916747333
  • 邮箱:a15566@126.com
  • 地址:奉贤区工业综合开发区942号
当前位置:首页 >> 截止阀 >> 高压截止阀 >> 自密封截止阀
更新时间 2025-12-4 21:29:58


高压截止阀
    自密封截止阀
    自密封截止阀   产品名称: 自密封截止阀
    型号:J61Y
    口径:DN10-300
    压力:PN1.6-42.0MPa
    材质:碳钢、不锈钢、铬钼钢等

    良大优势:

    1、质量稳定:实行全过程质量监控
    细心把关,全方位检测!
    2、价格合理:高效率的成本控制
    减少开支,让利于客户!
    3、交货快捷:充足的库存,便捷的物流
    严格按照合同期交货!

    订货须知:

    请您尽量提供详细参数
    ①名称 ②型号 ③口径 ④压力 ⑤材质
    ⑥连接 ⑦传动 ⑧温度 ⑨介质 ⑩附件

    良大服务:

    提供全套流体控制解决方案,良大阀门
    售前、售中、售后专业服务。
    您正在浏览:【自密封截止阀

       自密封截止阀详细介绍


    自密封截止阀产品概述:
    自密封截止阀是一种由阀体、阀盖、阀杆、阀杆螺母、阀瓣及阀座等组装而成的高温高压截止阀,其中腔采用压力自紧式密封结构设计,压力越高,密封性能越好,阀体进出口两端为焊接结构,焊接坡口可按标准或用户要求配接,阀盖填料函深度合理,填料加缓蚀剂,密封可靠,阀瓣、阀座的密封面采用司太立钴基硬质合金堆焊而成,阀杆经调质和表面氮化处理,耐磨、耐高温,抗腐蚀性和抗擦伤性能好,使用寿命长。

    自密封截止阀产品优点
    1、阀门与管路连接采用焊接式结构。
    2、密封面不易磨损、擦伤,密封性能好、寿命长。
    3、结构紧凑,启闭性好、高度小、维修方便。
    4、适用于水、蒸汽、油品管道上,具有耐高温、耐高压的特点。

    自密封截止阀性能规范:


    自密封截止阀零件材料:


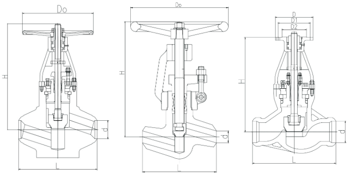
    自密封截止阀外形结构图: 


    自密封截止阀外形尺寸表:


    自密封截止阀订货参数:
    尊敬的用户!如果您需要订购我公司自密封截止阀产品,咨询时请说明公称尺寸、公称压力、材质、连接端执行标准、使用介质及工作温度等,我公司可按客户需求承接定制,本产品有铸造和锻造两种,驱动方式也可选用伞齿轮、电动、气动、液动、电-液联动及气-液联动等。

    提示:本文中所有文字、数据、图片均只适用于参考,需要了解更详细的【自密封截止阀】参数、选型、价格等请联系我们,我们将竭诚为您服务!